Глава 1. ЦИФРОВАЯ СОТОВАЯ СИСТЕМА ПОДВИЖНОЙ РАДИОСВЯЗИ СТАНДАРТА GSM
1.1. Общие характеристики стандарта GSM
В соответствии с рекомендацией СЕРТ 1980 г., касающейся использования спектра частот подвижной связи в диапазоне частот 862-960 МГц, стандарт GSM на цифровую общеевропейскую (глобальную) сотовую систему наземной подвижной связи предусматривает работу передатчиков в двух диапазонах частот: 890-915 МГц (для передатчиков подвижных станций - MS), 935-960 МГц (для передатчиков базовых станций - BTS) [1.1, 1.2].
В стандарте GSM используется узкополосный многостанционный доступ с временным разделением каналов (NB ТDМА). В структуре ТDМА кадра содержится 8 временных позиций на каждой из 124 несущих.
Для защиты от ошибок в радиоканалах при передаче информационных сообщений применяется блочное и сверточное кодирование с перемежением. Повышение эффективности кодирования и перемежения при малой скорости перемещения подвижных станций достигается медленным переключением рабочих частот (SFH) в процессе сеанса связи со скоростью 217 скачков в секунду.
Для борьбы с интерференционными замираниями принимаемых сигналов, вызванными многолучевым распространением радиоволн в условиях города, в аппаратуре связи используются эквалайзеры, обеспечивающие выравнивание импульсных сигналов со среднеквадратическим отклонением времени задержки до 16 мкс.
Система синхронизации рассчитана на компенсацию абсолютного времени задержки сигналов до 233 мкс, что соответствует максимальной дальности связи или максимальному радиусу ячейки (соты) 35 км.
В стандарте GSM выбрана гауссовская частотная манипуляция с минимальным частотным сдвигом (GMSK). Обработка речи осуществляется в рамках принятой системы прерывистой передачи речи (DTX), которая обеспечивает включение передатчика только при наличии речевого сигнала и отключение передатчика в паузах и в конце разговора. В качестве речепреобразующего устройства выбран речевой кодек с регулярным импульсным возбуждением/долговременным предсказанием и линейным предикативным кодированием с предсказанием (RPE/LTR-LTP-кодек). Общая скорость преобразования речево, о сигнала - 13 кбит/с.
В стандарте GSM достигается высокая степень безопасности передачи сообщений; осуществляется шифрование сообщений по алгоритму шифрования с открытым ключом (RSA).
В целом система связи, действующая в стандарте GSM, рассчитана на ее использование в различных сферах. Она предоставляет пользователям широкий диапазон услуг и возможность применять разнообразное оборудование для передачи речевых сообщений и данных, вызывных и аварийных сигналов; подключаться к телефонным сетям общего пользования (PSTN), сетям передачи данных (PDN) и цифровым сетям с интеграцией служб (ISDN).
Основные характеристики стандарта GSM
| Частоты передачи подвижной станциии приема базовой станции, МГц | 890-915 |
| Частоты приема подвижной станции и передачи базовой станции, МГц | 935-960 |
| Дуплексный разнос частот приема и передачи, МГц | 45 |
| Скорость передачи сообщений в радиоканале, кбит/с | 270, 833 |
| Скорость преобразования речевого кодека, кбит/с | 13 |
| Ширина полосы канала связи, кГц | 200 |
| Максимальное количество каналов связи | 124 |
| Максимальное количество каналов, организуемых в базовой станции | 16-20 |
| Вид модуляции | GMSK |
| Индекс модуляции | ВТ 0,3 |
| Ширина полосы предмодуляционного гауссовского фильтра, кГц | 81,2 |
| Количество скачков по частоте в секунду | 217 |
| Временное разнесение в интервалах ТDМА кадра (передача/прием) для подвижной станции | 2 |
| Вид речевого кодека | RPE/LTP |
| Максимальный радиус соты, км | до 35 |
| Схема организации каналов комбинированная TDMA/FDMA |
1.2. Структурная схема и состав оборудования сетей связи

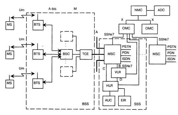
Рис. 1.1
Функциональное построение и интерфейсы, принятые в стандарте GSM, иллюстрируются структурной схемой рис, 1.1, на которой MSC (Mobile Switching Centre) - центр коммутации подвижной связи; BSS (Base Station System) - оборудование базовой станции; ОМС (Operations and Maintenance Centre) - центр управления и обслуживания; MS (Mobile Stations) - подвижные станции.
Функциональное сопряжение элементов системы осуществляется рядом интерфейсов. Все сетевые функциональные компоненты в стандарте GSM взаимодействуют в соответствии с системой сигнализации МККТТ SS N 7 (CCITT SS. N 7).
Центр коммутации подвижной связи обслуживает группу сот и обеспечивает все виды соединений, в которых нуждается в процессе работы подвижная станция. MSC аналогичен ISDN коммутационной станции и представляет собой интерфейс между фиксированными сетями (PSTN, PDN, ISDN и т.д.) и сетью подвижной связи. Он обеспечивает маршрутизацию вызовов и функции управления вызовами. Кроме выполнения функций обычной ISDN коммутационной станции, на MSC возлагаются функции коммутации радиоканалов. К ним относятся "эстафетная передача", в процессе которой достигается непрерывность связи при перемещении подвижной станции из соты в соту, и переключение рабочих каналов в соте при появлении помех или неисправностях.
Каждый MSC обеспечивает обслуживание подвижных абонентов, расположенных в пределах определенной географической зоны (например, Москва и область). MSC управляет процедурами установления вызова и маршрутизации. Для телефонной сети общего пользования (PSTN) MSC обеспечивает функции сигнализации по протоколу SS N 7, передачи вызова или другие виды интерфейсов в соответствии с требованиями конкретного проекта.
MSC формирует данные, необходимые для выписки счетов за предоставленные сетью услуги связи, накапливает данные по состоявшимся разговорам и передает их в центр расчетов (биллинг-центр). MSC составляет также статистические данные, необходимые для контроля работы и оптимизации сети.
MSC поддерживает также процедуры безопасности, применяемые для управления доступами к радиоканалам.
MSC не только участвует в управлении вызовами, но также управляет процедурами регистрации местоположения и передачи управления, кроме передачи управления в подсистеме базовых станций (BSS). Регистрация местоположения подвижных станций необходима для обеспечения доставки вызова перемещающимся подвижным абонентам от абонентов телефонной сети общего пользования или других подвижных абонентов. Процедура передачи вызова позволяет сохранять соединения и обеспечивать ведение разговора, когда подвижная станция перемещается из одной зоны обслуживания в другую. Передача вызовов в сотах, управляемых одним контроллером базовых станций (BSC), осуществляется этим BSC. Когда передача вызовов осуществляется между двумя сетями, управляемыми разными BSC, то первичное управление осуществляется в MSC. В стандарте GSM также предусмотрены процедуры передачи вызова между сетями (контроллерами), относящимися к разным MSC. Центр коммутации осуществляет постоянное слежение за подвижными станциями, используя регистры положения (HLR) и перемещения (VLR). В HLR хранится та часть информации о местоположении какой-либо подвижной станции, которая позволяет центру коммутации доставить вызов станции. Регистр HLR содержит международный идентификационный номер подвижного абонента (IMSI). Он используется для опознавания подвижной станции в центре аутентификации (AUC) (рис. 1.2, 1.3).

Практически HLR представляет собой справочную базу данных о постоянно прописанных в сети абонентах. В ней содержатся опознавательные номера и адреса, а также параметры подлинности абонентов, состав услуг связи, специальная информация о маршрутизации. Ведется регистрация данных о роуминге (блуждании) абонента, включая данные о временном идентификационном номере подвижного абонента (TMSI) и соответствующем VLR.
К данным, содержащимся в HLR, имеют дистанционный доступ все MSC и VLR сети и, если в сети имеются несколько HLR, в базе данных содержится только одна запись об абоненте, поэтому каждый HLR представляет собой определенную часть общей базы данных сети об абонентах. Доступ к базе данных об абонентах осуществляется по номеру IMSI или MSISDN (номеру подвижного абонента в сети ISDN). К базе данных могут получить доступ MSC или VLR, относящиеся к другим сетям, в рамках обеспечения межсетевого роуминга абонентов.
Второе основное устройство, обеспечивающее контроль за передвижением подвижной станции из зоны в зону, - регистр перемещения VLR. С его помощью достигается функционирование подвижной станции за пределами зоны, контролируемой HLR. Когда в процессе перемещения подвижная станция переходит из зоны действия одного контроллера базовой станции BSC, объединяющего группу базовых станций, в зону действия другого BSC, она регистрируется новым BSC, и в VLR заносится информация о номере области связи, которая обеспечит доставку вызовов под-
Состав временных данных, хранящихся в HLR и VLR

Практически HLR представляет собой справочную базу данных о постоянно прописанных в сети абонентах. В ней содержатся опознавательные номера и адреса, а также параметры подлинности абонентов, состав услуг связи, специальная информация о маршрутизации. Ведется регистрация данных о роуминге (блуждании) абонента, включая данные о временном идентификационном номере подвижного абонента (TMSI) и соответствующем VLR.
К данным, содержащимся в HLR, имеют дистанционный доступ все MSC и VLR сети и, если в сети имеются несколько HLR, в базе данных содержится только одна запись об абоненте, поэтому каждый HLR представляет собой определенную часть общей базы данных сети об абонентах. Доступ к базе данных об абонентах осуществляется по номеру IMSI или MSISDN (номеру подвижного абонента в сети ISDN). К базе данных могут получить доступ MSC или VLR, относящиеся к другим сетям, в рамках обеспечения межсетевого роуминга абонентов.
Второе основное устройство, обеспечивающее контроль за передвижением подвижной станции из зоны в зону, - регистр перемещения VLR. С его помощью достигается функционирование подвижной станции за пределами зоны, контролируемой HLR. Когда в процессе перемещения подвижная станция переходит из зоны действия одного контроллера базовой станции BSC, объединяющего группу базовых станций, в зону действия другого BSC, она регистрируется новым BSC, и в VLR заносится информация о номере области связи, которая обеспечит доставку вызовов под-
вижной станции. Для сохранности данных, находящихся в HLR и VLR, в случае сбоев предусмотрена защита устройств памяти этих регистров.
VLR содержит такие же данные, как и HLR, однако эти данные содержатся в VLR только до тех пор, пока абонент находится в зоне, контролируемой VLR.
В сети подвижной связи GSM соты группируются в географические зоны (LA), которым присваивается свой идентификационный номер (LAC). Каждый VLR содержит данные об абонентах в нескольких LA. Когда подвижный абонент перемещается из одной LA в другую, данные о его местоположении автоматически обновляются в VLR. Если старая и новая LA находятся под управлением различных VLR, то данные на старом VLR стираются после их копирования в новый VLR. Текущий адрес VLR абонента, содержащийся в HLR, также обновляется.
VLR обеспечивает также присвоение номера "блуждающей" подвижной станции (MSRN). Когда подвижная станция принимает входящий вызов, VLR выбирает его MSRN и передает его на MSC, который осуществляет маршрутизацию этого вызова к базовым станциям, находящимся рядом с подвижным абонентом.
VLR также распределяет номера передачи управления при передаче соединений от одного MSC к другому. Кроме того, VLR управляет распределением новых TMSI и передает их в HLR. Он также управляет процедурами установления подлинности во время обработки вызова. По решению оператора TMSI может периодически изменяться для усложнения процедуры идентификации абонентов. Доступ к базе данных VLR может обеспечиваться через IMSI, TMSI или MSRN. В целом VLR представляет собой локальную базу данных о подвижном абоненте для той зоны, где находится абонент, что позволяет исключить постоянные запросы в HLR и сократить время на обслуживание вызовов.
Для исключения несанкционированного использования ресурсов системы связи вводятся механизмы аутентификации - удостоверения подлинности абонента. Центр аутентификации состоит из нескольких блоков и формирует ключи и алгоритмы аутентификации. С его помощью проверяются полномочия абонента и осуществляется его доступ к сети связи. AUC принимает решения о параметрах процесса аутентификации и определяет ключи шифрования абонентских станций на основе базы данных, сосредоточенной в регистре идентификации оборудования (EIR - Equipment Identification Register).
Каждый подвижный абонент на время пользования системой связи получает стандартный модуль подлинности абонента (SIM), который содержит: международный идентификационный номер (IMSI), свой индивидуальный ключ аутентификации (Ki), алгоритм аутентификации (A3).
С помощью записанной в SIM информации в результате взаимного обмена данными между подвижной станцией и сетью осуществляется полный цикл аутентификации и разрешается доступ абонента к сети.
Процедура проверки сетью подлинности абонента реализуется следующим образом. Сеть передает случайный номер (RAND) на подвижную станцию. На ней с помощью Ki и алгоритма аутентификации A3 определяется значение отклика (SRES), т.е.
SRES = Ki * [ RAND]
Подвижная станция посылает вычисленное значение SRES в сеть, которая сверяет значение принятого SRES со значением SRES, вычисленным сетью. Если оба значения совпадают, подвижная станция приступает к передаче сообщений. В противном случае связь прерывается, и индикатор подвижной станции показывает, что опознавание не состоялось. Для обеспечения секретности вычисление SRES происходит в рамках SIM. Несекретная информация (например, Ki) не подвергается обработке в модуле SIM.
EIR - регистр идентификации оборудования, содержит централизованную базу данных для подтверждения подлинности международного идентификационного номера оборудования подвижной станции (1МЕ1). Эта база данных относится исключительно к оборудованию подвижной станции. Бзза данных EIR состоит из списков номеров 1МЕ1, организованных следующим образом:
БЕЛЫЙ СПИСОК - содержит номера 1МЕ1, о которых есть сведения, что они закреплены за санкционированными подвижными станциями.
ЧЕРНЫЙ СПИСОК - содержит номера 1МЕ1 подвижных станций, которые украдены или которым отказано в обслуживании по другой причине.
СЕРЫЙ СПИСОК - содержит номера 1МЕ1 подвижных станций, у которых существуют проблемы, выявленные по данным программного обеспечения, что не является основанием для внесения в "черный список".
К базе данных EIR получают дистанционный доступ MSC данной сети, а также MSC других подвижных сетей.
Как и в случае с HLR, сеть может иметь более одного EIR, при этом каждый EIR управляет определенными группами 1МЕ1. В состав MSC входит транслятор, который при получении номера 1МЕ1 возвращает адрес EIR, управляющий соответствующей частью базы данных об оборудовании.
IWF - межсетевой функциональный стык, является одной из составных частей MSC. Он обеспечивает абонентам доступ к средствам преобразования протокола и скорости передачи данных так, чтобы можно было передавать их между его терминальным оборудованием (DIE) сети GSM и обычным терминальным оборудованием фиксированной сети. Межсетевой функциональный стык также "выделяет" модем из своего банка оборудования для сопряжения с соответствующим модемом фиксированной сети. IWF также обеспечивает интерфейсы типа прямого соединения для оборудования, поставляемого клиентам, например, для пакетной передачи данных PAD по протоколу Х.25.
ЕС - эхоподавитель, используется в MSC со стороны PSTN для всех телефонных каналов (независимо от их протяженности) из-за физических задержек в трактах распространения, включая радиоканал, сетей GSM. Типовой эхоподавитель может обеспечивать подавление в интервале 68 миллисекунд на участке между выходом ЕС и телефоном фиксированной телефонной сети. Общая задержка в канале GSM при распространении в прямом и обратном направлениях, вызванная обработкой сигнала, кодированием/декодированием речи, канальным кодированием и т.д., составляет около 180 мс. Эта задержка была бы незаметна подвижному абоненту, если бы в телефонный канал не был включен гибридный трансформатор с преобразованием тракта с двухпроводного на четырехпроводный режим, установка которого необходима в MSC, так как стандартное соединение с PSTN является двухпроводным. При соединении двух абонентов фиксированной сети эхо-сигналы отсутствуют. Без включения ЕС задержка от распространения сигналов в тракте GSM будет вызывать раздражение у абонентов, прерывать речь и отвлекать внимание.
ОМС - центр эксплуатации и технического обслуживания, является центральным элементом сети GSM, который обеспечивает контроль и управление другими компонентами сети и контроль качества ее работы. ОМС соединяется с другими компонентами сети GSM по каналам пакетной передачи протокола Х.25. ОМС обеспечивает функции обработки аварийных сигналов, предназначенных для оповещения обслуживающего персонала, и регистрирует сведения об аварийных ситуациях в других компонентах сети. В зависимости от характера неисправности ОМС позволяет обеспечить ее устранение автоматически или при активном вмешательстве персонала. ОМС может обеспечить проверку состояния оборудования сети и прохождения вызова подвижной станции. ОМС позволяет производить управление нагрузкой в сети. Функция эффективного управления включает сбор статистических данных о нагрузке от компонентов сети GSM, записи их в дисковые файлы и вывод на дисплей для визуального анализа. ОМС обеспечивает управление изменениями программного обеспечения и базами данных о конфигурации элементов сети. Загрузка программного обеспечения в память может производиться из ОМС в другие элементы сети или из них в ОМС.
NMC - центр управления сетью, позволяет обеспечивать рациональное иерархическое управление сетью GSM. Он обеспечивает эксплуатацию и техническое обслуживание на уровне всей сети, поддерживаемой центрами ОМС, которые отвечают за управление региональными сетями. NMC обеспечивает управление трафиком во всей сети и обеспечивает диспетчерское управление сетью при сложных аварийных ситуациях, как например, выход из строя или перегрузка узлов. Кроме того, он контролирует состояние устройств автоматического управления, задействованных в оборудовании сети, и отражает на дисплее состояние сети для операторов NMC. Это позволяет операторам контролировать региональные проблемы и, при необходимости, оказывать помощь ОМС, ответственному за конкретный регион. Таким образом, персонал NMC знает состояние всей сети и может дать указание персоналу ОМС изменить стратегию решения региональной проблемы.
NMC концентрирует внимание на маршрутах сигнализации и соединениях между узлами с тем, чтобы не допускать условий для возникновения перегрузки в сети. Контролируются также
маршруты соединений между сетью GSM и PSTN во избежание распространений условий перегрузки между сетями. При этом персонал NMC координирует вопросы управления сетью с персоналом других NMC. NMC обеспечивает также возможность управления трафиком для сетевого оборудования подсистемы базовых станций (BSS). Операторы NMC в экстремальных ситуациях могут задействовать такие процедуры управления, как "приоритетный доступ", когда только абоненты с высоким приоритетом (экстренные службы) могут получить доступ к системе.
NMC может брать на себя ответственность в каком-либо регионе, когда местный ОМС является необслуживаемым, при этом ОМС действует в качестве транзитного пункта между NMC и оборудованием сети. NMC обеспечивает операторов функциями, аналогичными функциям ОМС.
NMC является также важным инструментом планирования сети, так как NMC контролирует сеть и ее работу на сетевом уровне, а, следовательно, обеспечивает планировщиков сети данными, определяющими ее оптимальное развитие.
BSS - оборудование базовой станции, состоит из контроллера базовой станции (BSC) и приемо-передающих базовых станций (BTS). Контроллер базовой станции может управлять несколькими приемо-передающими блоками. BSS управляет распределением радиоканалов, контролирует соединения, регулирует их очередность, обеспечивает режим работы с прыгающей частотой, модуляцию и демодуляцию сигналов, кодирование и декодирование сообщений, кодирование речи, адаптацию скорости передачи для речи, данных и вызова, определяет очередность передачи сообщений персонального вызова.
BSS совместно с MSC, HLR, VLR выполняет некоторые функции, например: освобождение канала, главным образом, под контролем MSC, но MSC может запросить базовую станцию обеспечить освобождение канала, если вызов не проходит из-за радиопомех. BSS и MSC совместно осуществляют приоритетную передачу информации для некоторых категорий подвижных станций.
ТСЕ- транскодер, обеспечивает преобразование выходных сигналов канала передачи речи и данных MSC (64 кбит/с ИКМ) к виду, соответствующему рекомендациям GSM по радиоинтерфейсу (Рек. GSM 04.08). В соответствии с этими требованиями скорость передачи речи, представленной в цифровой форме, составляет 13 кбит/с. Этот канал передачи цифровых речевых сигналов называется "полноскоростным". Стандартом предусматривается в перспективе использование полускоростного речевого канала (скорость передачи 6,5 кбит/с).
Снижение скорости передачи обеспечивается применением специального речепреобразую-щего устройства, использующего линейное предикативное кодирование (LPC), долговременное предсказание (LTP), остаточное импульсное возбуждение (RPE - иногда называется RELP).
Транскодер обычно располагается вместе с MSC, тогда передача цифровых сообщений в направлении к контроллеру базовых станций - BSC ведется с добавлением к потоку со скоростью передачи 13 кбит/с, дополнительных битов (стафингование) до скорости передачи данных 16 кбит/с. Затем осуществляется уплотнение с кратностью 4 в стандартный канал 64 кбит/с. Так формируется определенная Рекомендациями GSM ЗО-канальная ИКМ линия, обеспечивающая передачу 120 речевых каналов. Шестнадцатый канал (64 кбит/с), "временное окно", выделяется отдельно для передачи информации сигнализации и часто содержит трафик SS N7 или LAPD. В другом канале (64 кбит/с) могут передаваться также пакеты данных, согласующиеся с протоколом X.25 МККТТ.
Таким образом, результирующая скорость передачи по указанному интерфейсу составляет 30х64 кбит/с + 64 кбит/с + 64 кбит/с = 2048 кбит/с.
MS - подвижная станция, состоит из оборудования, которое служит для организации доступа абонентов сетей GSM к существующим фиксированным сетям электросвязи. В рамках стандарта GSM приняты пять классов подвижных станций от модели 1-го класса с выходной мощностью 20 Вт, устанавливаемой на транспортном средстве, до портативной модели 5-го класса, максимальной мощностью 0,8 Вт (табл. 1.1). При передаче сообщений предусматривается адаптивная регулировка мощности передатчика, обеспечивающая требуемое качество связи.
Подвижный абонент и станция независимы друг от друга. Как уже отмечалось, каждый абонент имеет свой международный идентификационный номер (IMSI), записанный на его интеллектуальную карточку. Такой подход позволяет устанавливать радиотелефоны, например, в такси и автомобилях, сдаваемых на прокат. Каждой подвижной станции также присваивается свой международный идентификационный номер (1МЕ1). Этот номер используется для предотвращения доступа к сетям GSM похищенной станции или станции без полномочий [1.2].
Таблица 1.1
| Класс мощности | Максимальный уровень мощности передатчика | Допустимые отклонения |
| 1 | 20 Вт | 1,5 дБ |
| 2 | 8 Вт | 1,5 дБ |
| 3 | 5 Вт | 1,5 дБ |
| 4 | 2 Вт | 1,5 дБ |
| 5 | 0,8 Вт | 1,5 дБ |
1.3. Сетевые и радиоинтерфейсы
При проектировании цифровых сотовых систем подвижной связи стандарта GSM рассматриваются интерфейсы трех видов: для соединения с внешними сетями; между различным оборудованием сетей GSM; между сетью GSM и внешним оборудованием. Все существующие внутренние интерфейсы сетей GSM показаны на структурной схеме рис. 1.1. Они полностью соответствуют требованиям Рекомендаций ETSI/GSM 03.02.
Интерфейсы с внешними сетями
Соединение с PSTN
Соединение с телефонной сетью общего пользования осуществляется MSC по линии связи 2 Мбит/с в соответствии с системой сигнализации SS N 7. Электрические характеристики 2 Мбит/с интерфейса соответствуют Рекомендациям МККТТ G.732.
Соединение с ISDN
Для соединения с создаваемыми сетями ISDN предусматриваются четыре линии связи 2 Мбит/с, поддерживаемые системой сигнализации SS N 7 и отвечающие Рекомендациям Голубой книги МККТТ Q.701-Q.710, Q.711-Q.714, Q.716, Q.781, 0.782, 0.791, 0.795, 0.761-0.764, 0.766.
Соединение с существующей сетью NMT-450
Центр коммутации подвижной связи соединяется с сетью NMT-450 через четыре стандартные линии связи 2 Мбит/с и системы сигнализации SS N7. При этом должны обеспечиваться требования Рекомендаций МККТТ по подсистеме пользователей телефонной сетью (TUP - Telephone User Part) и подсистеме передачи сообщений (МТР - Message Transfer Part) Желтой книги. Электрические характеристики линии 2 Мбит/с соответствуют Рекомендациям МККТТ G.732.
Соединения с международными сетями GSM
В настоящее время обеспечивается подключение сети GSM в Москве к общеевропейским сетям GSM. Эти соединения осуществляются на основе протоколов систем сигнализации (SCCP) и межсетевой коммутации подвижной связи (GMSC).
Внутренние GSM - интерфейсы
Интерфейс между MSC и BSS (А-интерфейс) обеспечивает передачу сообщений для управления BSS, передачи вызова, управления передвижением. А-интерфейс объединяет каналы связи и линии сигнализации. Последние используют протокол SS N7 МККТТ. Полная спецификация А-ин-терфейса соответствует требованиям серии 08 Рекомендаций ETSI/GSM.
Интерфейс между MSC и HLR совмещен с VLR (В-интерфейс). Когда MSC необходимо определить местоположение подвижной станции, он обращается к VLR. Если подвижная станция инициирует процедуру местоопределения с MSC, он информирует свой VLR, который заносит всю изменяющуюся информацию в свои регистры. Эта процедура происходит всегда, когда MS переходит из одной области местоопределения в другую. В случае, если абонент запрашивает специальные дополнительные услуги или изменяет некоторые свои данные, MSC также информирует VLR, который регистрирует изменения и при необходимости сообщает о них HLR.
Интерфейс между MSC и HLR (С-интерфейс) используется для обеспечения взаимодействия между MSC и HLR. MSC может послать указание (сообщение) HLR в конце сеанса связи для того, чтобы абонент мог оплатить разговор. Когда сеть фиксированной телефонной связи не способна исполнить процедуру установления вызова подвижного абонента, MSC может запросить HLR с целью определения местоположения абонента для того, чтобы послать вызов MS.
Интерфейс между HLR и VLR (D-интерфейс) используется для расширения обмена данными о положении подвижной станции, управления процессом связи. Основные услуги, предоставляемые подвижному абоненту, заключаются в возможности передавать или принимать сообщения независимо от местоположения. Для этого HLR должен пополнять свои данные. VLR сообщает HLR о положении MS, управляя ею и переприсваивая ей номера в процессе блуждания, посылает все необходимые данные для обеспечения обслуживания подвижной станции.
Интерфейс между MSC (Е-интерфейс) обеспечивает взаимодействие между разными MSC при осуществлении процедуры HANDOVER - "передачи" абонента из зоны в зону при его движении в процессе сеанса связи без ее перерыва.
Интерфейс между BSC и BTS(A-bis интерфейс) служит для связи BSC с BTS и определен Рекомендациями ETSI/GSM для процессов установления соединений и управления оборудованием, передача осуществляется цифровыми потоками со скоростью 2,048 Мбит/с. Возможно использование физического интерфейса 64 кбит/с.
Интерфейс между BSC и ОМС (О-интерфейс) предназначен для связи BSC с ОМС, используется в сетях с пакетной коммутацией МККТТ Х.25.
Внутренний BSC-интерфейс контроллера базовой станции обеспечивает связь между различным оборудованием BSC и оборудованием транскодирования (ТСЕ); использует стандарт ИКМ-пе-редачи 2,048 Мбит/с и позволяет организовать из четырех каналов со скоростью 16 кбит/с один канал на скорости 64 кбит/с.
Интерфейс между MS и BTS (Um-радиоинтерфейс) определен в сериях 04 и 05 Рекомендаций ETSI/GSM.
Сетевой интерфейс между ОМС и сетью, так называемый управляющий интерфейс между ОМС и элементами сети, определен ETSI/GSM Рекомендациями 12.01 и является аналогом интерфейса Q.3, который определен в многоуровневой модели открытых сетей ISO OSI.
Соединение сети с ОМС могут обеспечиваться системой сигнализации МККТТ SS N7 или сетевым протоколом Х.25. Сеть Х.25 может соединяться с объединенными сетями или с PSDN в открытом или замкнутом режимах.
GSM - протокол управления сетью и обслуживанием также должен удовлетворять требованиям Q.3 интерфейса, который определен в ETSI/GSM Рекомендациях 12.01.
Интерфейсы между сетью GSM и внешним оборудованием
Интерфейс между MSC и сервис-центром (SC) необходим для реализации службы коротких сообщений. Он определен в ETSI/GSM Рекомендациях 03.40.
Интерфейс к другим ОМС. Каждый центр управления и обслуживания сети должен соединяться с другими ОМС, управляющими сетями в других регионах или другими сетями. Эти соединения обеспечиваются Х-интерфейсами в соответствии с Рекомендациями МККТТ М.ЗО. Для взаимодействия ОМС с сетями высших уровней используется О.З-интерфейс.
1.4. Структура служб и передача данных в стандарте GSM
Стандарт GSM содержит два класса служб: основные службы и телеслужбы. Основные службы обеспечивают: передачу данных (асинхронно) в дуплексном режиме со скоростями 300, 600, 1200, 2400, 4800 и 9600 бит/с через телефонные сети общего пользования; передачу данных (синхронно) в дуплексном режиме со скоростями 1200, 2400, 4800 и 9600 бит/с через телефонные сети общего пользования, коммутируемые сети передачи данных общего пользования (CSPDN) и ISDN; доступ с помощью адаптера к пакетной асинхронной передаче данных со стандартными скоростями 300-9600 бит/с через коммутируемые сети пакетной передачи данных общего пользования (PSPDN), например, Datex-P; синхронный дуплексный доступ к сети пакетной передачи данных со стандартными скоростями 2400-9600 бит/с [1.1, 1.2].
При передаче данных со скоростью 9,6 кбит/с всегда используется канал связи с полной скоростью передачи. В случае передачи на скоростях ниже 9,6 кбит/с могут использоваться полускоростные каналы связи.
Перечисленные функции каналов передачи данных предусмотрены для терминального оборудования, в котором используются интерфейсы МККТТ со спецификациями V.24 или Х.21 серий. Эти спецификации определяют вопросы передачи данных по обычным каналам телефонной связи. Телеслужбы предоставляют следующие услуги:
1) телефонная связь (совмещается со службой сигнализации: охрана квартир, сигналы бедствия и пр.);
2) передача коротких сообщений;
3) доступ к службам "Видеотекс", "Телетекс";
4) служба "Телефакс" (группа 3).
Дополнительно стандартизован широкий спектр особых услуг (передача вызова, оповещения о тарифных расходах, включение в закрытую группу пользователей).
Так как ожидается, что большинство абонентов будет использовать услуги GSM в деловых целях, особое внимание уделяется аспектам безопасности и качеству предоставляемых услуг.
Структурная схема служб связи в GSM PLMN показана на рис. 1.4 (GSM PLMN - GSM Public Land Mobile Network - сеть связи с наземными подвижными объектами; ТЕ (Terminal Equipment) -терминальное оборудование, МТ (Mobile Terminal) - подвижный терминал, IWF (Interworking Function) - межсетевой функциональный стык). К передаче данных относится и новый вид службы, используемый в GSM, - передача коротких сообщений (передача служебных буквенно-цифровых сообщений для отдельных групп пользователей).


При передаче коротких сообщений используется пропускная способность каналов сигнализации. Сообщения могут передаваться и приниматься подвижной станцией. Для передачи коротких сообщений могут использоваться общие каналы управления. Объем сообщений ограничен 160-ю символами, которые могут приниматься в течение текущего вызова либо в нерабочем цикле. В
управление радиоканалами, защиту от ошибок в радиоканале, кодирование-декодирование речи, текущий контроль и распределение данных пользователя и вызовов, адаптацию по скорости передачи между радиоканалом и данными, обеспечение параллельной работы нагрузок (терминалов), обеспечение непрерывной работы в процессе движения.
Используется три типа оконечного оборудования подвижной станции: МТО (Mobile Termination 0) - многофункциональная подвижная станция, в состав которой входит терминал данных с возможностью передачи и приема данных и речи: МТ1 (Mobile Termination 1) - подвижная станция с возможностью связи через терминал с ISDN; МТ2 (Mobile Termination 2) - подвижная станция с возможностью подключения терминала для связи по протоколу МККТТ V или Х серий.
Терминальное оборудование может состоять из оборудования одного или нескольких типов, такого как телефонная трубка с номеронабирателем, аппаратуры передачи данных (DTE), телекс и т.д.
Различают следующие типы терминалов: ТЕ1 (Terminal Equipment 1) - терминальное оборудование, обеспечивающее связь с ISDN; ТЕ2 (Terminal Equipment 2) - терминальное оборудование, обеспечивающее связь с любым оборудованием через протоколы МККТТ V или Х серий (связь с ISDN не обеспечивает). Терминал ТЕ2 может быть подключен как нагрузка к МТ1 (подвижной станции с возможностью связи с ISDN) через адаптер ТА.
Система характеристик стандарта GSM, принятая функциональная схема сетей связи и совокупность интерфейсов обеспечивают высокие параметры передачи сообщений, совместимость с существующими и перспективными информационными сетями, предоставляют абонентам широкий спектр услуг цифровой связи.
1.6. Структура ТDМА кадров и формирование сигналов в стандарте GSM
В результате анализа различных вариантов построения цифровых сотовых систем подвижной связи (ССПС) в стандарте GSM принят многостанционный доступ с временным разделением каналов (TDMA). Общая структура временных кадров показана на рис. 1.6 [1.4]. Длина периода последовательности в этой структуре, которая называется гиперкадром, равна Тг = 3 ч 28 мин 53 с 760 мс (12533,76 с). Гиперкадр делится на 2048 суперкадров, каждый из которых имеет длительность Те = 12533,76/2048 = 6,12 с.

Суперкадр состоит из мультикадров. Для организации различных каналов связи и управления в стандарте GSM используются два вида мультикадров:
1) 26-позиционные TDMA кадры мультикадра;
2) 51-позиционные TDMA кадры мультикадра.
Суперкадр может содержать в себе 51 мультикадр первого типа или 26 миультикадров второго типа. Длительности мультикадров соответственно:
1) Тм= 6120/51 = 120 мс;
2) Тм = 6120/26 = 235,385 мс (3060/13 мс). Длительность каждого TDMA кадра
Тк = 120/26 = 235,385/51 = 4,615 мс (60/13 мс).
В периоде последовательности каждый TDMA кадр имеет свой порядковый номер (NF) от О до NFmax, где NFmax = (26х51х2048) -1 = 2715647.
Таким образом, гиперкадр состоит из 2715647 TDMA кадров. Необходимость такого большого периода гиперкадра объясняется требованиями применяемого процесса криптографической защиты, в котором номер кадра NF используется как входной параметр. TDMA кадр делится на восемь временных позиций с периодом
То = 60/13:8 = 576,9 мкс (15/26 мс)
Каждая временная позиция обозначается TN с номером от 0 до 7. Физический смысл временных позиций, которые иначе называются окнами, - время, в течение которого осуществляется модуляция несущей цифровым информационным потоком, соответствующим речевому сообщению или данным.
Цифровой информационный поток представляет собой последовательность пакетов, размещаемых в этих временных интервалах (окнах). Пакеты формируются немного короче, чем интервалы, их длительность составляет 0,546 мс, что необходимо для приема сообщения при наличии временной дисперсии в канале распространения.
Информационное сообщение передается по радиоканалу со скоростью 270,833 кбит/с.
Это означает, что временной интервал TDMA кадра содержит 156,25 бит.
Длительность одного информационного бита 576,9 мкс/156,25 = 3,69 мкс.
Каждый временной интервал, соответствующий длительности бита, обозначается BN с номером от 0 до 155; последнему интервалу длительностью 1/4 бита присвоен номер 156.
Для передачи информации по каналам связи и управления, подстройки несущих частот, обеспечения временной синхронизации и доступа к каналу связи в структуре TDMA кадра используются пять видов временных интервалов (окон):
NB используется для передачи информации по каналам связи и управления, за исключением канала доступа RACH. Он состоит из 114 бит зашифрованного сообщения и включает защитный интервал (GP) в 8,25 бит длительностью 30,46 мкс. Информационный блок 114 бит разбит на два самостоятельных блока по 57 бит, разделенных между собой обучающей последовательностью в 26 бит, которая используется для установки эквалайзера в приемнике в соответствии с характеристиками канала связи в данный момент времени.
В состав NB включены два контрольных бита (Steeling Flag), которые служат признаком того, содержит ли передаваемая группа речевую информацию или информацию сигнализации. В последнем случае информационный канал (Traffic Channel) "украден" для обеспечения сигнализации.
Между двумя группами зашифрованных бит в составе NB находится обучающая последовательность из 26 бит, известная в приемнике. С помощью этой последовательности обеспечивается:
- оценка частоты появления ошибок в двоичных разрядах по результатам сравнения принятой и эталонной последовательностей. В процессе сравнения вычисляется параметр RXQUAL, принятый для оценки качества связи. Конечно, речь идет только об оценке связи, а не о точных измерениях, так как проверяется только часть передаваемой информации. Параметр RXQUAL используется при вхождении в связь, при выполнении процедуры "эстафетной передачи" (Handover) и при оценке зоны покрытия радиосвязью;
- оценка импульсной характеристики радиоканала на интервале передачи NB для последующей коррекции тракта приема сигнала за счет использования адаптивного эквалайзера в тракте приема;
-определение задержек распространения сигнала между базовой и подвижной станциями для оценки дальности связи. Эта информация необходима для того, чтобы пакеты данных от разных подвижных станций не накладывались при приеме на базовой станции. Поэтому удаленные на большее расстояние подвижные станции должны передавать свои пакеты раньше станций, находящихся в непосредственной близости от базовой станции. FB предназначен для синхронизации по частоте подвижной станции. Все 142 бита в этом време.нном интервале - нулевые, что соответствует немодулированной несущей со сдвигом 1625/24 кГц выше номинального значения частоты несущей. Это необходимо для проверки работы
своего передатчика и приемника при небольшом частотном разносе каналов (200 кГц), что составляет около 0,022% от номинального значения полосы частот 900 МГц. FB содержит защитный интервал 8,25 бит так же, как и нормальный временной интервал. Повторяющиеся временные интервалы подстройки частоты (FB) образуют канал установки частоты (FCCH).
SB используется для синхронизации по времени базовой и подвижной станций. Он состоит из синхропоследовательности длительностью 64 бита, несет информацию о номере ТОМА кадра и идентификационный код базовой станции. Этот интервал передается вместе с интервалом установки частоты. Повторяющиеся интервалы синхронизации образуют так называемый канал синхронизации (SCH).
DB обеспечивает установление и тестирование канала связи. По своей структуре DB совпадает с NB (рис. 1.6) и содержит установочную последовательность длиной 26 бит. В DB отсутствуют контрольные биты и не передается никакой информации. DB лишь информирует о том, что передатчик функционирует.
АВ обеспечивает разрешение доступа подвижной станции к новой базовой станции. АВ передается подвижной станцией при запросе канала сигнализации. Это первый передаваемый подвижной станцией пакет, следовательно, время прохождения сигнала еще не измерено. Поэтому пакет имеет специфическую структуру. Сначала передается концевая комбинация 8 бит, затем - последовательность синхронизации для базовой станции (41 бит), что позволяет базовой станции обеспечить правильный прием последующих 36 зашифрованных бит. Интервал содержит большой защитный интервал (68,25 бит, длительностью 252 мкс), что обеспечивает (независимо от времени прохождения сигнала) достаточное временное разнесение от пакетов других подвижных станций,
Этот защитный интервал соответствует двойному значению наибольшей возможной задержки сигнала в рамках одной соты и тем самым устанавливает максимально допустимые размеры соты. Особенность стандарта GSM - возможность обеспечения связью подвижных абонентов в сотах с радиусом около 35 км. Время распространения радиосигнала в прямом и обратном направлениях составляет при этом 233,3 мкс.
В структуре GSM строго определены временные характеристики огибающей сигнала, излучаемого пакетами на канальном временном интервале TDMA кадра, и спектральная характеристика сигнала. Временная маска огибающей для сигналов, излучаемых на интервале АВ полного TDMA кадра, показана на рис. 1.7, а маска огибающей для сигналов NB, FB, DB и SB полного TDMA кадра - на рис. 1.8. Различные формы огибающих излучаемых сигналов соответствуют разным длительностям интервала АВ (88 бит) по отношению к другим указанным интервалам полного TDMA кадра (148 бит). Нормы на спектральную характеристику излучаемого сигнала показаны на рис. 1.9.

Одна из особенностей формирования сигналов в стандарте GSM - использование медленных скачков по частоте в процессе сеанса связи. Главное назначение таких скачков (SFH - Slow Frequency Hopping) - обеспечение частотного разнесения в радиоканалах, функционирующих в условиях многолучевого распространения радиоволн. SFH используется во всех подвижных сетях, что повышает эффективность кодирования и перемежения при медленном движении абонентских станций. Принцип формирования медленных скачков по частоте состоит в том, что сообщение, передаваемое в выделенном абоненту временном интервале TDMA кадра (577 мкс), в каждом последующем кадре передается (принимается) на новой фиксированной частоте. В соответствии со структурой кадров время для перестройки частоты составляет около 1 мс.
В процессе скачков по частоте постоянно сохраняется дуплексный разнос 45 МГц между каналами приема и передачи. Всем активным абонентам, находящимся в одной соте, ставятся в соответствие ортогональные формирующие последовательности, что исключает взаимные помехи при приеме сообщений абонентами в соте. Параметры последовательности переключения частот (частотно-временная матрица и начальная частота) назначаются каждой подвижной станции в процессе установления канала. Ортогональность последовательностей переключения частот в соте обеспечивается начальным частотным сдвигом одной и той же (по алгоритму формирования) последовательности. В смежных сотах используются различные формирующие последовательности.
Комбинированная TDMA/FDMA схема организации каналов в стандарте GSM и принцип использования медленных скачков по частоте при передаче сообщений во временных кадрах показаны на рис. 1.10,1.11.


Для сравнения можно отметить, что по результатам экспериментальных исследований, проведенных на действующих сетях GSM, пространственное разнесение приемных антенн на базовой станции дает выигрыш 3-4 дБ.
Принятая структура ТDМА кадров и принципы формирования сигналов в стандарте GSM в совокупности с методами капельного кодирования позволили снизить требуемое для приема отношение сигнал/помеха до 9 дБ, тогда как в стандартах аналоговых сотовых сетей связи оно составляет 17-18 дБ.
Литература к Главе 1
1.1 M.Mouly, M.B.Pautet. The GSM System for Mobile Communications. 1992. p.p. 702.
1.2 Ю.А. Громаков. Сотовые системы подвижной радиосвязи. Технологии электронныхкоммуникаций. Том 48. "Эко-Трендз". Москва. 1994.
1.3 A. Mehrotra. Cellular Radio: Analog and Digital Systems. Artech House, Boston-London. 1994. p.p. 460.
1.4 Ю.А. Громаков. Структура TDMA кадров и формирование сигналов в стандарте GSM. "Электросвязь". N 10. 1993. с. 9-12.
1.5 W. Heger. GSM vs. CDMA. GSM Global System for Mobile Communications. Proceedings of the GSM Promotion Seminar 1994 GSM MoU Group in Cooperation with ETSI GSM Members. 15 December 1994. p.p. 3.1-1 - 3.1-18.